Description
Les silencieux évent vapeur sont composés d’une chambre de décompression en amont et d’une partie dissipative.
Tuyauteries conçues pour se dilater librement suivant l’axe de pose.
Les silencieux évent vapeur sont équipés d’une purge pour l’évacuation de la condensation.
- Réduction du bruit de décharges vapeur ou de gaz dans l’air
- Évents de démarrage de chaudières, de soupapes de sûreté ou de vannes de régulation
- Solution pour une forte atténuation du bruit
- Solution la plus efficace au problème de décharges de fluides sous pression
- Dimensions sur mesure
ACOUSTIQUE
Plusieurs gammes d’atténuation sont possibles, gain de 15 à 45 dB selon les besoins
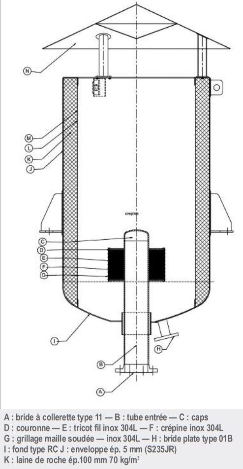
Coupe d’un silencieux évent vapeur
Dimensions sur mesure pour les silencieux évent vapeur
- Le corps du silencieux peut être fabriqué en acier noir, en acier chaudière, ou en inox
- Fourniture de la structure support (pieds ou berceaux de fixation…)
- Préparation : sablage (SA 2,5) ; + 1 couche primaire ; + 1 couche de finition peinture
- Alu HT RAL9006
- Suivant conditions d’utilisation




